
Предохранитель к автоматической винтовке
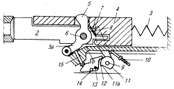
Для автоматической винтовки с подвижной дополнительной массой (ДМ), за счет которой осуществляется торможение отдачи затвора при выстреле, разработан предохранительный механизм, препятствующий ведению огня в случае поломки ускорителя, сообщающего ускорение этой ДМ. Затвор (2) с ДМ (4) отходит назад при выстреле, сжимая возвратную пружину (3) и проворачивает курок (8) на оси (9). При откате затвора ускоритель (5) опирается своим плечом (5а) на неподвижный упор Р и, поворачиваясь на оси (6), сообщает ДМ дополнительную скорость для торможения отката затвора. Предо-хранитель состоит из кулачка (11) на оси (9) и собачки (12), вращающейся на оси (13). Когда затвор под действием плеча (5а) ускорителя приходит в переднее положение, толкатель (15) давит на кулачок, что обеспечивает курку возможность повернуться под действием боевой пружины (10) для нанесения удара по ударнику (7) при выстреле. В случае поломки плеча (5а) кулачок освобождается от толкателя и под действием пружины (14) поворачивается, зацепляясь своим выступом за зуб (11а) кулачка и удерживая курок на боевом взводе.
Пистолет liberator m. 1942 (США)
После вступления США во вторую мировую войну для дестабилизации положения противника на территории оккупированных западноевропейских государств, американским правительством было принято решение о разработке упрощенной конструкции дешевого, так называемого одноразового образца стрелкового оружия, предназначенного в основном для вооружения партизан. К разработке был подключен автомобильный концерн "general motors corp." (gmc). Непосредственной разработкой занялся американский оружейник Джордж Хейд. Весной 1942 г. в максимально сжатые сроки он спроектировал необычный однозарядный пистолет, больше похожий на детскую игрушку, чем на боевое оружие. Новый пистолет, рассчитанный под штатный пистолетный патрон крупного калибра .45 АСР (11,43 мм) состоял из 23 деталей. На грубой пистолетной рукоятке монтировался короткий ствол, ударно-спусковой механизм, состоявший из спускового крючка, боевой пружины и открытого курка, а также большая предохранительная скоба спускового крючка, верхняя часть которой одновременно являлась и мушкой. Практически все детали (кроме ствола и курка) были изготовлены методом штамповки из листовой нержавеющей стали. Ствол представлял собой гладкую стальную трубку калибра 11,43 мм. Заряжение пистолета производилось примерно также, как и у его предшественников в прошлом веке. Самым трудоемким процессом являлось перезаряжение, так как экстрагирование стреляной гильзы возможно было лишь после введения внутрь ствола твердого деревянного или же стального прутка. Еще одно новшество — заложенный при изготовлении пистолета разовый (непополняемый) боекомплект. Предполагалось, что после израсходования имевшегося в пистолете боекомплекта, оружие можно будет просто выбросить. Эффективная стрельба из него велась только в упор на расстояние от 2 до 3 метров. 15 мая 1942 г. "general motors corp." и правительство США подписали контракт на сумму 1 712 767 долларов на изготовление одного миллиона пистолетов, получивших кодовое название fp-45 (.45 flare projector). Изготовление одного пистолета длилось всего 7,5 секунд, что стало бесспорным достижением американской промышленности тех лет. Уже к 17 июня того же года, т.е. спустя всего месяц правительству было доложено о выполнении заказа. Упакованные в контейнеры пистолеты сбрасывали с самолетов в места расположения партизан.
Однако лишь малая часть пистолетов liberator М. 1942 дошла до партизан и уж совсем небольшое количество было использовано в боях против фашистов, поскольку сверхмалая дальность стрельбы и невысокие боевые качества превращали обладателя этого оружия в потенциального смертника.
По материалам зарубежных изданий