
ПРАВИЛА СТРЕЛЬБЫ ИЗ ВИНТОВОК
1. На соревнованиях используются винтовки следующих типов:
• малокалиберные произвольные;
• малокалиберные стандартные;
• крупнокалиберные произвольные;
• крупнокалиберные стандартные;
• пневматические.
2. К винтовкам всех типов предъявляются следующие требования:
а) запрещены компенсаторы и дульные тормоза;
б) рукоятка шейки ложи, которую охватывает кисть правой руки должна иметь такую форму и размеры, чтобы при стрельбе лежа и с колена она не касалась ремня и левой руки. Примечание. Здесь и далее по тексту для стрелка левши "правый" заменяете на "левый" и наоборот.
в) при стрельбе из малокалиберных и крупнокалиберных винтовок лежа и с колена используется ремень, который охватывает левое плечо выше локтя и идет к цевью ложи винтовки, касаясь предплечья и запястья только с одной стороны. Ремень прикрепляется к цевью ложи антабкой и больше ни одной своей точкой не должен касаться винтовки. Максимальная ширина ремня 40 мм;
г) запрещены телескопические (т.е. оптические) прицелы;

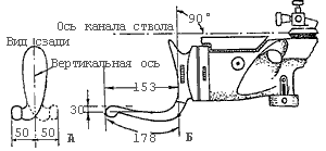
Рис.1.Крюк и затыльник произвольной винтовки
д) разрешены прицельные приспособления любого типа, не содержащие линзы или системы линз;
е) светофильтры могут быть прикреплены к мушке или прицелу;
ж) запрещено прикреплять к винтовке или вставлять в прицел корректирующие линзы (стрелку разрешается носить очки с корректирующими стеклами);
з) разрешен затемнитель для глаза, прикрепленный к винтовке или прицелу (или голове стрелка);
и) если стрелок стреляет с правого плеча, но прицеливается левым глазом (и наоборот), то на винтовке разрешено использовать призматическое или зеркальное устройство, не содержащее увеличительных линз.

Рис.2.Стандартная (малокалиберная и крупнокалиберная) винтовка
3. Малокалиберная произвольная винтовка:
а) разрешены винтовки любого типа и калибра 5,6 мм под патрон бокового огня;
б) масса (без ремня) не больше 8000 г, включая затыльник приклада с крюком и подставку "шампиньон" для левой руки; в) натяжение спуска курка произвольное;
г) расстояние от задней точки крюка затыльника приклада до линии, проходящей через самую глубокую часть выемки затыльника перпендикулярно оси канала ствола, не должно превышать 153 мм (рис. 1б).
Расстояние между двумя параллельными оси канала ствола линиями, одна из которых проходит через заднюю точку конца крюка, а другая — через нижнюю точку его впадины по внутреннему периметру, не должно превышать 30 мм (при измерении крюк должен находиться в нейтральном положении).
Измеренное по внешнему периметру крюка расстояние от его задней точки до места пересечения затыльника линией, проходящей через самую глубокую часть выемки затыльника перпендикулярно оси канала ствола, не должно превышать 178 мм (от точки А до точки Б, рис.1б).
Отвод крюка вправо или влево должен быть таким, чтобы расстояние между его наиболее удаленной точкой и вертикальной осью затыльника не превышало 50 мм (рис. 1а), измерение производится относительно вертикальной оси затыльника, независимо от того, как смещен сам затыльник относительно торца, приклада.
|
Обозначение
на рис. |
Параметр
|
Максимальная
величина, мм |
| А | Длина намушника | 50 |
| Б | Диаметр намушника | |
| В | Расстояние от центра кольца намушника (или вершины пеньковой мушки) до оси канала | 40 |
| Г1 | Высота цевья ложи у ее переднего конца | 70 |
| Г2 | Высота ложи у передней точки предохранительной скобы спускового крючка | 90 |
| Д | Расстояние от нижней точки пистолетной рукоятки до оси канала ствола | 140 |
| Е | Расстояние от нижней точки затыльника приклада (при его нейтральном положении до оси канала ствола | 190 |
| Ж | Глубина впадины затыльника приклада | 20v |
| З | Расстояние между верхней и нижней точками затыльника приклада (по вертикали) | 153 |
| И | Толщина (ширина) ложи | 60 |
| K | Толщина накладки под щеку | 40 |
д) расстояние от оси канала ствола до нижней точки прикрепленной к винтовке подставки шампиньон не должно превышать 200 мм.
4. Малокалиберная стандартная винтовка:
а) калибр 5,6 мм под патрон бокового огня;
б) масса (без ремня) не более 5500 г (включая прицельные приспособления и антабку);
в) натяжение спуска курка произвольное;
г) все ограниченные Правилами размеры винтовки показаны на рис. 2 и перечислены в таблице.
Примечания:
• размеры Г1, Г2 и К отсчитываются от оси канала ствола;
• центр намушника может занимать и смещенное от вертикали положение, но в любом случае расстояние от оси намушника до оси канала ствола не должно превышать 40 мм (это ограничение не относится к стреляющим с правого плеча, но прицеливающимся левым глазом и наоборот);
• намушник и мушка не должны выступать за дульный срез ствола;
д) затыльник приклада может перемещаться вверх или вниз, не более чем на 30 мм от нейтрального положения; он может быть смещен вправо или влево не более чем на 15 мм или может быть повернут в плоскости, перпендикулярной прикладу, под углом не более чем на 15 градусов; е) запрещены:
• шнеллерный спуск; • крюк на затыльнике приклада; • подставка-шампиньон; • углубления или выступы на цевье ложи, предназначенные для дополнительной фиксации положения пальцев левой руки; • отверстие в ложе для большого пальца правой руки и углубления или выступы для фиксации его положения;
• выступы на пистолетной рукоятке, препятствующие соскальзыванию кисти правой руки; указатель уровня;
• внешние грузы; • сошки для опоры винтовки в перерыве между выстрелами;
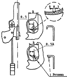
ж) разрешено применение съемной, но не регулируемой накладки под щеку;
з) на нижней стороне ложи разрешена прямая горизонтальная площадка (начиная от передней точки предохранительной скобы спускового крючка), но при условии, что она не будет выступать за прямую линию, соединяющую две точки, одна из которых расположена в 70 мм от оси канала ствола на линии, проходящей через переднюю точку цевья ложи, а вторая находится в 90 мм от оси канала ствола на линии, проходящей перпендикулярно стволу через переднюю точку защитной скобы спускового крючка (рис. 3);

Рис.3.Пистолетная рукоятка ложи стандартной и пневматической винтовок
и) длина приклада и положение накладки под щеку не могут быть изменены во время выполнения упражнения;
к) при стрельбе из всех трех положений должен использоваться один и тот же экземпляр винтовки без внесения в винтовку каких-либо изменений (разрешены только регулировки прицельных приспособлений и изменение положения затыльника приклада и антабки ремня);
л) во время выполнения упражнения запрещено выносить винтовку за пределы линий огня без разрешения судей.
5. Малокалиберная стандартная винтовка типа ТОЗ–12 предназначенная для выполнения упражнений МВ–1–а, МВ–2–а, МВ–4–а, МВ–7–а, МВ–8–а: а) калибр 5,6 мм под патрон бокового огня;
б) масса не более 3500 г; в) натяжение спуска курка произвольное;
г) прицел любой, кроме оптического; д) запрещены:
• передвижная антабка;
• передвижной затыльник приклада;
• рукоятка пистолетного типа;
• накладка под щеку;
• внесение каких-либо изменений в заводскую констру-кцию.
6. Малокалиберная стандартная винтовка типа ТОЗ–8 предназначенная для выполнения упражнений МВ–1, МВ–2.
Предъявляются такие же требования, как и к винтовке, предназначенной для выполнения упражнений МВ–1–а, МВ–2–а, МВ–4–а, МВ–7–а, МВ–8–а, однако прицел должен быть открытый.
7. Крупнокалиберная произвольная винтовка: а) калибр не более 8 мм;
б) остальные требования соответствуют требованиям, предъявляемым к малокалиберной произвольной винтовке.
8. Крупнокалиберная стандартная винтовка:
а) калибр не более 8 мм;
б) натяжение спуска курка не менее 1500 г;
в) остальные требования соответствуют требова-ниям, предъявляемым к малокалиберной стандартной винтовке.
9. Пневматическая винтовка:
а) винтовка любого типа, действующая на сжатом воздухе или СО2;
б) калибр 4,5 мм;
в) внешние грузы запрещены (кроме цилиндрического груза, охватывающего ствол);
г) остальные требования соответствуют требованиям, предъявляемым к малокалиберной стандартной винтовке (за исключением пп к, л, п. 4).
10. Пневматическая винтовка типа ИЖ–22, ИЖ–38, предназначенная для выполнения упражнений ВП–1, ВП–2, ВП–3, действующая на сжатом воздухе:
а) калибр 4,5 мм;
б) масса не более 300 г;
в) прицел открытый;
г) остальные требования соответствуют требованиям, предъявляемым к винтовке для выполнения упражнений МВ–1–а, МВ–2–а, МВ–4–а, МВ–7–а, МВ–8–а.
ПРАВИЛА СТРЕЛЬБЫ ИЗ ПИСТОЛЕТОВ
1. На соревнованиях используются пистолеты следующих типов:
• спортивные (стандартные);
• пистолеты (револьверы) центрального боя;
• скорострельные; • произвольные;
• пневматические.

Рис.4.Измерение натяжения спуска курка
2. К пистолетам всех типов предъявляются следующие требования:
а) разрешены прицельные приспособления только открытого типа. Любые защитные устройства (например, намушники) на мушке и прицеле не разрешены.
Запрещены оптические, зеркальные, телескопические, лазерные и электронно-лучевые прицелы. Запрещены также прицельные приспособления программно управляющие действием спускового механизма пистолета;
б) прицельные приспособления могут быть снабжены микрометрическими винтами для вертикального и горизонтального перемещения;
в) запрещены корректирующие линзы и светофильтры, прикрепленные к пистолету. Стрелку разрешается носить очки с корректирующими стеклами и светофильтрами);
г) ни рукоятка, ни какая-либо другая часть пистолета не должны создавать опоры для кисти руки. Когда стрелок держит пистолет в положении для выстрела, должно быть видно, что кисть ни на что не опирается;
Рис.5.Пистолет (револьвер) центрального боя и спортивный (стандартный) малокалиберный пистолет
ни одна часть рукоятки не должна заходить на руку за лучезапястный сустав;
д) допускается использование регулируемых (раздвижных) рукояток, если их размеры в крайних положениях не выходят за пределы, установленные для данного типа пистолета;
е) осевая линия канала ствола у пистолетов всех типов (кроме произвольного и пневматического) должна проходить над верхней точкой перемычки кисти руки между большим и указательным пальцами (когда стрелок держит пистолет в положении для выстрела); ж) на пистолетах всех типов (скорострельном, произвольном и пневматическом) запрещено использование дульного тормоза и устройств, аналогичных ему;
Рис.6.Рукоятка пистолета (револьвера)центрального боя, спортивного (стандартного)
малокалиберного пистолета и пневматического пистолета
з) максимальные габариты всех типов (кроме произвольного) должны быть такими, чтобы пистолет с рукояткой полностью помещался внутри измерительного ящика.
Измерительные ящики должны иметь следующие внутренние размеры:
• для спортивного пистолета и пистолета-револьвера центрального боя — 300 мм х 150 мм х 50 мм;
• для скорострельного пистолета — 300 мм х 150 мм х 50 мм; • допускается увеличение одного из указанных размеров на 5 % (т.е. увеличение на 5 % либо высоты, либо ширины, либо длины пистолета);
• для пневматического пистолета — 420 мм х 200 мм х 50 мм.
Предельно допустимое отклонение любого из внутренних размеров измерительных ящиков
+1,0 мм — 0,0 мм.
3. Спортивный (стандартный) пистолет:
а) разрешены многозарядные пистолеты калибра 5,6 мм под длинный (винтовочный) патрон бокового огня;
б) масса со всеми принадлежностями, включая балансировочные грузики и неснаряженный магазин, не более 1400 г;
в) натяжение спуска курка не более 1000 г. Измеряется при вертикальном положении ствола (рис. 4);" >
Рис.7.Пистолет (револьвер)
центрального боя и спортивный(стандартный)малокалиберный пистолет
г) длина ствола не более 153 мм. Измеряется от дульного среза до торца казенной части (ствол + патронник);
д) длина прицельной линии не более 220 мм. Измеряется между обращенной к стрелку поверхностью прицельной планки и наиболее высокой точкой мушки (рис. 5);
е) ни одна часть рукоятки или принадлежности пистолета не должны охватывать кисть руки.
мм
Опора для ладони должна выступать под углом не менее 90о по отношению к вертикальной оси рукоятки (рис. 6). Запрещены любые изгибы вверх опор для ладони, опоры для большого пальца и любой изгиб рукоятки вниз со стороны, противоположной большому пальцу.
Разрешены искривленные контуры рукоятки и задней части рамки пистолета в направлении оси оружия (рис. 7). ж) задняя часть рамки пистолета, которая опирается на кисть между основаниями большого и указательного пальцев, не должна выступать более чем на 30 мм. Это расстояние измеряется между точкой А на линии, перпендикулярной оси канала ствола, и точкой Б — на контуре рукоятки (рис. 7).
Рис.8.Высота ствольной части скорострельного пистолета
4. Пистолет (револьвер) центрального боя:
а) разрешены многозарядные пистолеты (рево-льверы) центрального боя калибра 7,62–9,65 мм;
б) масса со всеми принадлежностями, включая балансировочные грузики, незаряженный магазин (барабан), не более 1400 г;
в) натяжение спуска курка не более 1360 г. Измеряется при вертикальном положении ствола (рис. 4);
г) длина ствола не более 153 мм. Измеряется от дульного среза до торца казенной части (ствол + патронник). У револьвера измеряется от дульного среза до заднего торца ствола (без барабана);
д) длина прицельной линии не более 220 мм (см. п. 3д);
е) форма рукоятки — см. п. 3е;
ж) форма и размеры рамки – см. п. 3ж.
5. Скорострельный пистолет:
а) разрешены пистолеты калибра 5,6 мм под длинный или укороченный патрон бокового огня;
б) масса со всеми принадлежностями, включая балансировочные грузики и неснаряженный магазин, не более 1260 г;
в) натяжение спуска курка произвольное;
г) длина ствола лимитируется измерительным ящиком (см. п. 2з)
Высота ствола, т.е. расстояние от верхней точки мушки до нижней точки ствола или любой принадлежности, установленной на нижней части ствола от дульного среза до казенной части (не считая спускового крючка и его защитной скобы) не более 40 мм (рис. 8);
д) длина прицельной линии лимитируется измерительным ящиком (см. п. 2б);
е) разрешена любая специальная рукоятка, удовлетворяющая требованиям пунктов 2г и 2д, размеры которой лимитируются измерительным ящиком (см. п. 2з).
6. Произвольный пистолет:
а) разрешены любые однозарядные (или заряжаемые при стрельбе только одним патроном) пистолеты калибра 5,6 мм под патрон бокового огня;
б) масса произвольная;
в) натяжение спуска курка произвольное;
г) длина ствола произвольная;
д) длина прицельной линии произвольная;
е) разрешена любая специальная рукоятка, удовлетворяющая требованиям пунктов 2г и 2д.
7. Пневматический пистолет:
а) разрешены пистолеты калибра 4,5 мм, действующие на сжатом воздухе или СО2;
б) масса со всеми принадлежностями не более 1500 г;
в) натяжение спуска курка не более 500 г. Измеряется при вертикальном положении ствола (рис. 4);
г) длина ствола лимитируется измерительным ящиком (см. п. 2в);
д) длина прицельной линии лимитируется измерительным ящиком (см. п. 2з);
е) форма рукоятки (см. п. 3е).ПРАВИЛА СТРЕЛЬБЫ ПО ДВИЖУЩИМСЯ МИШЕНЯМ
1. Разрешено использовать любые винтовки, удовлетворяющие следующим требованиям:
а) калибр:
• для стрельбы на 50 м — 5,6 мм (только под винтовочный патрон бокового огня);
Рис.9Винтовка для стрельбы по движущимся мишеням
• для стрельбы на 10 м — не более 4,5 мм (пневматическая винтовка, действующая на сжатом воздухе или СО2;
б) масса винтовок (с прицелом, компенсаторным грузом и фальшстволом) не более 5500г;
в) длина ствола вместе с казенной частью не более 1000 мм — измеряется от дульного среза выступающего за ствол компенсатора груза или фальшствола) до задней точки вставленного в винтовку закрытого затвора со спущенным курком (для малокалиберной винтовки); г) натяжение спуска курка:
• для малокалиберной винтовки — не менее 500 г;
• для пневматической винтовки — произвольное (ускоритель спуска запрещен).
2. Разрешены прицелы любого типа, в том числе оптические. На пневматической винтовке оптический прицел должен быть не более 300 мм длинной и не более чем с 4-кратным увеличением (кратность не должна быть регулируемой).
3. Разрешен перемещающийся по вертикали затыльник приклада:
а) максимальная величина перемещения — на 30 мм вверх или вниз от нейтрального положения;
б) максимальная глубина выемки (или высота выпуклости) затыльника — 20 мм (измеряется перпендикулярно линии, соединяющей концы затыльника);
в) максимальная высота затыльника — 150 мм.
4. Разрешено применение компенсаторных грузов и фальшстволов.
Расстояние от оси канала ствола до наиболее удаленной от ствола точки компенсаторного груза (фальшствола) в радиальном измерении не должно превышать 60 мм.
5. Все упражнения должны выполняться из одной и той же винтовки и с одним и тем же прицелом, который, как и винтовка, маркируется при контроле.
После прохождения контроля оружия и до окончания выполнения упражнения запрещено снимать, устанавливать или заменять компенсаторный груз (грузы) и фальшствол, которые при контроле должны быть промаркированы таким образом, чтобы их замена могла быть легко обнаружена судьями.